Ana içeriğe geç

Mazda, ilk karbon fiber şasisini geliştiriyor olabilir

Patentler bunu gösteriyor.

Mazda Carbon Fiber Chassis Patent

Mazda, fırsat bulduğu her parçada ağırlık azaltmayı seviyor. Popüler roadster'ı MX-5'i gereksiz bütün parçalardan arındırarak 1100 kg seviyesine çeken üretici, aldığı yeni patentlerden anladığımız kadarıyla alternatif malzemeler deneyerek şasiyi hafifletmeyi hedefliyor.

Geçtiğimiz günlerde alınan bir patent, dört kapılı bir modelde kompozit malzemeden imal edilmiş bir şasi tasarlandığını gösteriyor. Anladığımız kadarıyla Mazda, bu malzemeyi sportif bir modelde değil; sedan gövdeli bir modelde kullanacak.

Patentler, üretim modelini tamamen yansıtmaz. Fakat gördüğümüz tasarım dört kapıya sahip.

Tahminlerimize göre Mazda, taşıdığı bataryalar yüzünden ağırlaşan elektrikli otomobillerde eklenen ağırlığın bir kısmını bertaraf etmek için karbon fiber benzeri hafifletilmiş malzemelere başvuracak. 

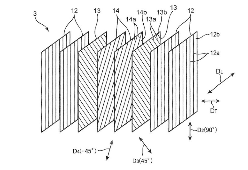
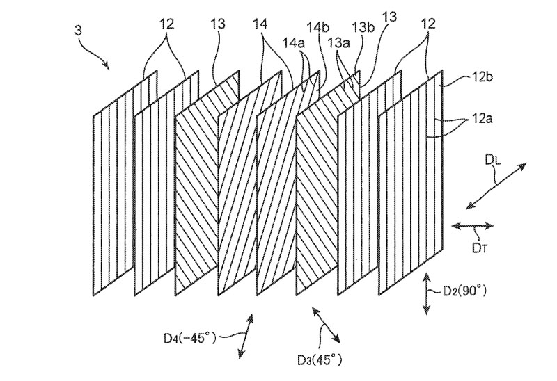
Üretici, karbon fiber yapraklarını çapraz şekilde birbirine bağlayarak üretilen "quasi-isotropic" tasarım ile ilgileniyor gibi görünüyor. Basitçe açıklamak gerekirse her yönden kuvvete karşı dayanıklı olan bir malzeme geliştiriliyor. Patentlerde hem üretim yöntemine, hem de araçlarda kullanılacak hâle nasıl getirileceğine dair bilgiler verilmiş.

Farklı yönlerde birleştirilen karbon fiber yaprakları sayesinde her yönden dayanıklı bir malzeme geliştirilecek.

Yasal bilgilere göre Mazda, bu projede tek başına çalışmıyor. Karbon fiber yapılar ile tecrübesi olan Nippon Steel Chemical & Material Co., Ltd. ile beraber çalışılıyor. Ayrıca bu materyalin ne zaman kullanılacağına dair bilgimiz bulunmuyor. Eğer Mazda'nın çalışmaları aradığı başarıyı sağlarsa gelecekte Mazda logosu taşıyan elektrikli otomobillerin, rakiplerine kıyasla daha hafif olduğunu görebiliriz.